Электронная база данных инновационных решений
и проектов по обращению с отходами
Войти
На главную
Посмотр проекта : СПОСОБ ПЕРЕРАБОТКИ ТВЕРДЫХ ОТХОДОВ В ШЛАКОВОМ РАСПЛАВЕ
Название проекта
На русском
На английском
Информация об авторах
(нажмите чтобы развернуть)
Раттенберг Вадим Николаевич Еленин Станислав Борисович
Информация об интеллектуальной собственности
(нажмите чтобы развернуть)
Патентообладатель(и): Раттенберг Вадим Николаевич (RU), Еленин Станислав Борисович (RU), RU 2451089 C2 C21B13/00 (2006.01) F23G5/00 (2006.01)
Дата патента, Статус, Группа отходов
Запатентован
Не запатентован
Патент приостановлен
Чрезвычайно опасные
Высоко опасные
Умеренно опасные
Малоопасные
Практически неопасные
НИОКР
Тематическое направление
Ключевые слова
Аннотация на русском
(нажмите чтобы развернуть)
Способ непрерывной переработки твердых бытовых и промышленных отходов в шлаковом расплаве предусматривает подсушку и подачу шихты минимальными порциями в разные места ванны, где сжигают и плавят ее в барботируемом шлаковом расплаве. Продукты сгорания термически разлагают и промывают под обтекателем с помощью газопромывателей многозонной печи при температуре 1350°C, что позволяет избавиться от галогенов в отходах и диссоциированного хлора по тракту до турбинного охлаждения газа. Промывка печного газа производится газожидкостной средой, выбрасываемой барботируемым расплавом, который содержит избыточный водород и CO. За счет управляемого синтеза в зонах печи создаются новые вещества, которые нейтрализуют в распылительном абсорбере сухой очистки газов. Охлаждение дымового газа производится в 3 этапа и завершается в электрофильтре, дымососе и дымовой трубе. Предлагаемый способ реализован в проекте Мусоросжигательного завода нового поколения (МСЗнп-15), который термически обезвреживает 15 т/ч отходов. Допустимое содержание галогенов в отходах не более 0,6% по массе. Степень сортировки отходов - любая. Расход природного газа в печи - 5000 м3/ч. Прогнозируемый расчет показал, что способ непрерывной переработки отходов на МСЗнп-15 позволяет уменьшить содержание контролируемых выбросов вредных веществ значительно ниже нормы ПДК (России), а также гарантированно снизить в трубе выбросы неконтролируемых высокотоксичных диоксинов и фуранов в 800 раз по сравнению с Европейской нормой, равной 0,1 нг/м3, принятой в России. Технология МСЗнп-15 позволяет решать глобальные экологические проблемы: обеспечение экологической безопасности окружающей природной среды; ликвидация полигонного захоронения отходов; постепенное уничтожение диоксиновой агрессии в регионах; получение новых продуктов, обогащенных коллоидами, и снижение радиоактивного фона в продуктах плавки; создание сырьевой базы для наноиндустрии. Предполагаемый бездотационный способ переработки отходов может использоваться при реконструкции старых заводов, а также в отраслях обороны, металлургии, медицины и коммунальных службах регионов. 3 з.п. ф-лы, 11 ил.
Аннотация на английском
(нажмите чтобы развернуть)
Корреляция с другими проектами
(нажмите чтобы развернуть)
Известен способ переработки твердых бытовых отходов (ТБО) в шлаковом расплаве Патент RU 2064506; C1 [1], принятый в качестве прототипа, включающий: подсушку отходов перед подачей в печь, сжигание и плавку шихты в барботируемом расплаве, термическое разложение и промывку продуктов сгорания в многозонной печи с жидкой ванной, а дымовые газы охлаждаются в два этапа: сначала в котле-утилизаторе и экономайзере с 1400 до 750°C, а затем в роторном устройстве с 750 до 250°C, путем смешения дымового газа с воздухом за время 0,1-0,5 сек.
Техническая информация
(нажмите чтобы развернуть)
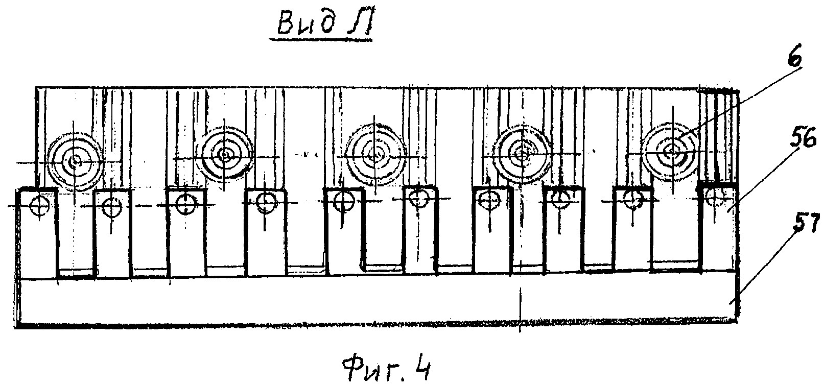
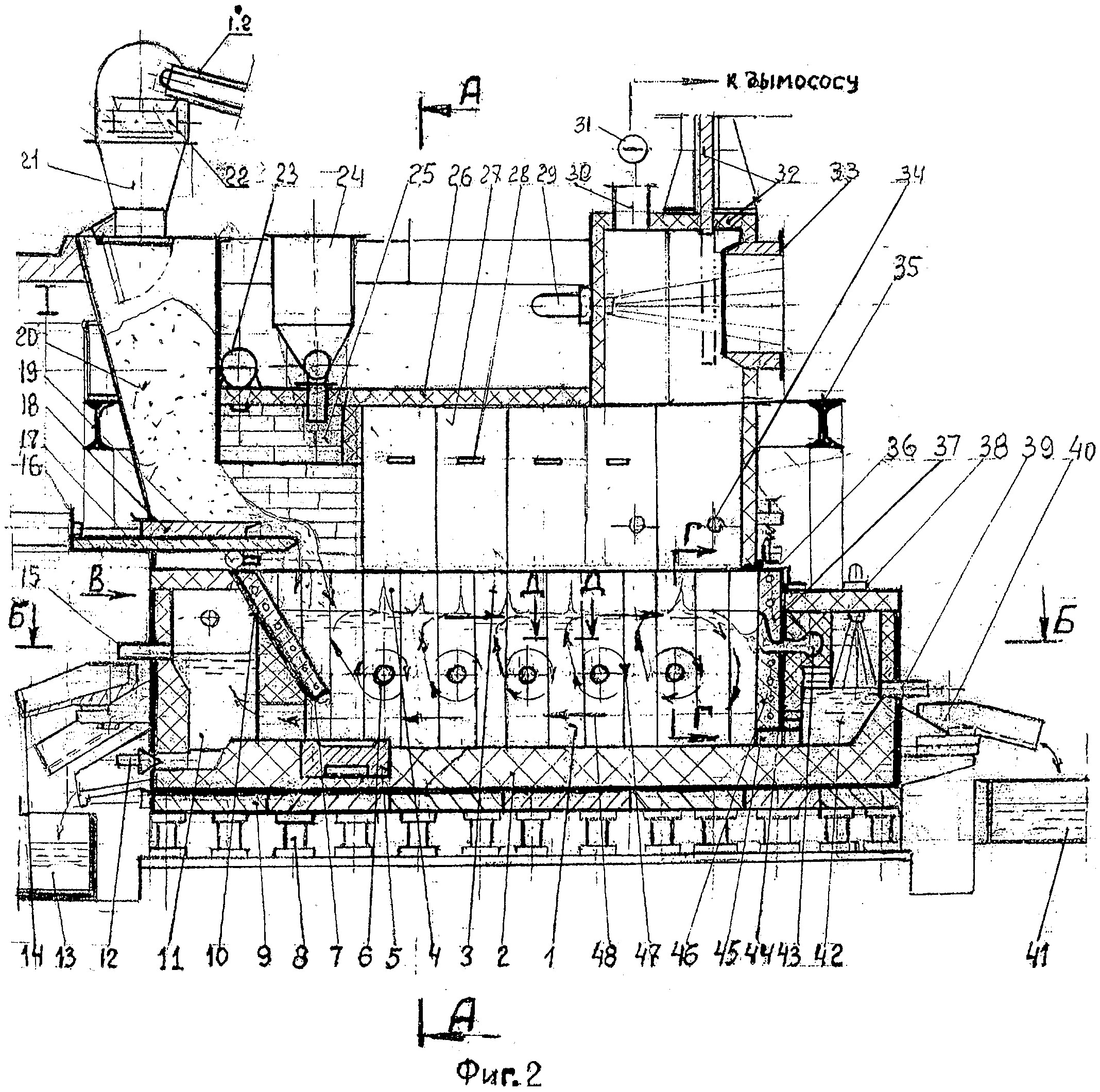
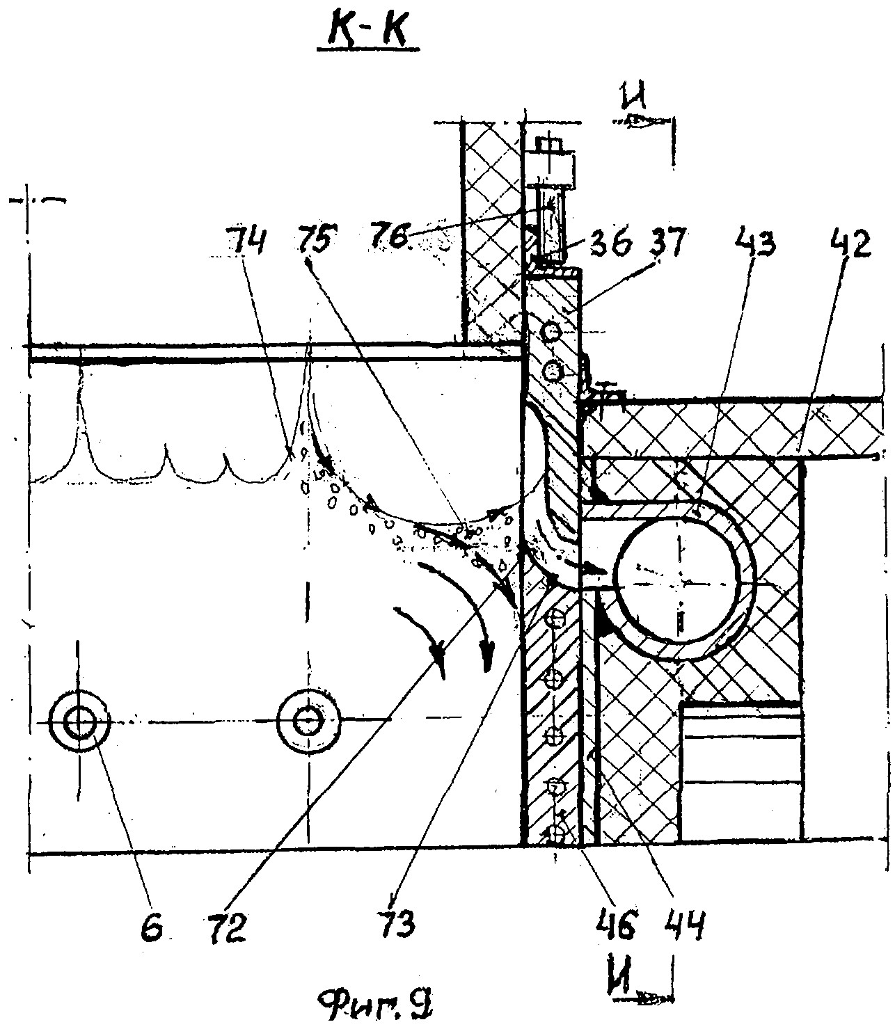
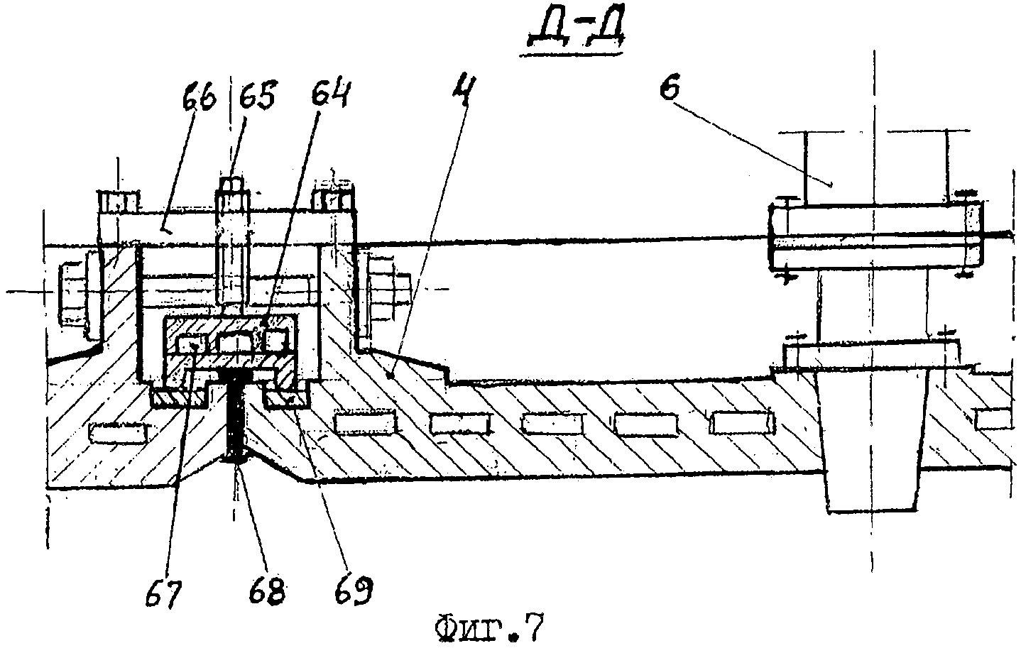
Главным агрегатом технологической линии МСЗнп является многозонная печь с пылеосадительной камерой представленной на фиг.2, где показан продольный разрез по оси симметрии печи. На фиг.3 показан поперечный разрез А-А на фиг.2 печи, где дано расположение печи в технологическом пролете комплекса МСЗнп. На фиг.4 показан вид по стрелке «Л» на фиг.3, где показана барьерная гряда с опорными балками, в виде гребенки, которая предназначена для размещения упорных винтов и проводки боковых кессонов ванны через барьерную гряду. На фиг.5 показан разрез Б-Б на фиг.2, где дан вид сверху на кессонированную ванну печи с копильниками, а также показаны устройства для удаления шлаковой пены и расположение поворотных желобов с ямами грануляции продуктов плавки. На фиг.6 - вид по стрелке В на фиг.2, где показано расположение сливных устройств на переднем торце печи. На фиг.7 - сечение Д-Д на фиг.2, где показаны уплотнительные устройства герметизации стыков кессонов и перегородок. На фиг.8 - сечение Г-Г на фиг.2, где показаны уплотнение между кессонированной шахтой и обечайкой шатра, а также часть центрального окна с шиберным затвором-волноломом. На фиг.9 - сечение К-К на фиг.5, где показаны: - стрелками движение шлаковой пены, содержащей коллоиды; - расположение пристенной лунки, где концентрируются коллоидные растворы и разрушаются газовые пузыри о шиберную задвижку; - устройство для вывода шлаковой пены в щелевой коллектор. На фиг.10 - разрез по И-И на фиг.9, где показано устройство для дегазации и грануляции шлака, обогащенного коллоидами и флотации мутьевого потока для отделения пустой породы от тяжелых фракций. На фиг.11 - сечение Е-Е на фиг.3, где показана схема газовых потоков обтекателя, над барботируемой ванной в печи. Многозонная печь с пылеосадительной камерой, представленная на фиг.2, содержит: ванну 1; подину 2, футерованную огнеупорами; нижний прямоточный кессон 3 - шахты; нижний фурменный кессон 4 - шахты; кессонированная часть подины 5; циклонная топка 6 - с соплом; передняя наклонная перегородка 7 - водоохлаждаемая; колонны фундамента 8; подовые кессоны 9; стенка переднего отсека 10; передний копильник 11 - для шлака; аварийная летка 12; аварийная ванна 13 - для грануляции шлака; поворотный желоб 14; окно 15 - для непрерывного слива шлака; гидроцилиндр 16 - для возвратно-поступательного перемещения толкателя; стол 17 - днище бункера; толкатель 18; щелевые горелки 19 - отдувки шихты; щелевой бункер 20 - для ТБО; воронка с затвором 21; поперечный ленточный транспортер 22, расположенный на колошниковой площадке печи; коллектор подогретого воздуха 23 - для печи и топок; бункер 24 - со шнековым приводом для подачи подшихтовки печи чугунной стружкой и вторичными отходами; соединительная камера 25 - футерованная огнеупорами; свод шатра 26; боковой кессон шатра 27; щелевая горелка обтекателя 28; форсунка 29 - подачи карбамида с паром; обводной газоход 30 - печи; поворотная заслонка 31; пылеосадительная камера 32 - с шиберным затвором; горловина 33 - основного газохода печи; трубка 34 - подачи воздуха для дожигания CO; ферма моста 35 - для подвески обечайки шатра в технологическом пролете печи; уплотнительный уголок 36 - с набивкой из огнеупорной массы; шиберный затвор 37 - волнолом, который регулирует проходное сечение центрального окна - для отсоса шлаковой пены, обогащенный коллоидами; горелка 38 обогрева копильника чугуна; окно с трубкой 39 - для непрерывного слива чугуна; поворотный желоб 40; ванна 41 - грануляции чугуна; копильник чугуна 42; щелевой коллектор 43 - для вывода в стояки шлаковой пены, обогащенной коллоидами; стенка заднего отсека 44; соединительный канал 45; задняя перегородка 46 - водооохлаждаемая с направляющими для шиберного затвора; закрученный поток газожидкостной среды 47 - выходящий из топки; главный циркуляционный поток шлака 48 - в ванне печи. На фиг.3, 4 показан разрез А-А технологического пролета, в котором дан поперечный разрез печи, состоящей из кессонированной шахты и шатра, содержащих сварной короб 49 - для подины; балка монорельса - 50; подвижная каретка с грузоподъемной талью 51 - для транспортировки и монтажа кессонов и топок; опорная лапа 52 - бокового кессона шатра; площадка 53 - обслуживания бункеров и пылеосадительной камеры; упорный винт 54; магистраль подогретого воздуха 55 - с компенсатором и краном; опорная балка 56 - с гайкой; гряда 57 - железобетонная; шлаковый расплав 58 - в кессонированной ванне; подводная опора 59; На фиг.5, 6, 7 (лист 3) показано: промежуточная летка 60; гранулятор шлаковой пены 61, обогащенной коллоидами; водокольцевой насос 62; стояк 63 - гранулятора; уплотнительная балка 64; винт нажимной 65; опорная планка 66; канал 67 - водяного охлаждения; пробка 68 - из шлака; прокладка медная 69. На фиг.8, 9, 10, 11 показано: рым-болт 70 - для транспортировки нижнего кессона; шип 71 - кессона шатра; верхняя кромка окна 72 - в задней перегородке; подоконник 73 - криволинейный; поперечная волна 74 - расплава; пристенная лунка 75, обогащенная коллоидами; винт 76 - подъема шиберного затвора; сопло 77 - гранулятора; трубка 78 - подачи воздуха во флотатор; мутьевой поток 79. Предлагается следующий технологический режим. Отходы из мусоровозов выгружают на пластинчатый питатель 1.1 , который подает отходы равномерным слоем на наклонной ленточный транспортер 1.2 . Последний подает ТБО на колошниковую площадку и перегружает отходы на поперечный ленточный транспортер-весоизмеритель 1.3 . Последний подает отходы в воронку с затвором 21, который расположен над приемным щелевым бункером 20 печи (см. фиг.1 и 2). Отходы на откосе и столе 17 щелевого бункера 20 подсушиваются и периодически сдвигают и подают минимальными порциями в зону загрузки (см. фиг.2). Под столом 17 расположены щелевые горелки 19, которые отдувают легкие фракции отходов в направлении к расплаву. Отходы на поверхности расплава подхватываются главным циркуляционным потоком и попадают в разные места зоны загрузки, тяжелая минеральная часть шихты попадает на наклонную переднюю перегородку 7, где они постепенно сползают по гарнисажу и попадают на кессонированную часть стальной подины 5. На поверхности стальной подины имеется слой гарнисажа из чугуна, который воспринимает ударные нагрузки и предохраняет ее от разрушения. Подина печи имеет корытообразную форму с бортами, что позволяет сохранить часть объема жидкой ванны при замене циклонных топок, а также нижнего бокового кессона. Отходы в печи непрерывно сжигают и плавят под газовыми горелками 28 обтекателя, а затем продукты сгорания термически разлагают до атомарно-молекулярного состояния и промывают топочными газами, выходящими из барботируемого расплава, который содержит избыточный H2, CO, пары H2O, возгоны металлов и брызгоунос. В каждой зоне печи синтезируются новые вещества в зависимости от коэффициента расхода воздуха, подаваемого в циклонные топки 6, в пределах =0,7-1,1. В газовой фазе печи создается восстановительно-окислительная среда при температуре 1350-1450°C с разрежением 10-30 мм водяного столба. Расход природного газа на топку 290-350 м3/ч. Расход природного газа на печь составляет 5000 м3/ч. За счет эффективной промывки печных газов в двух последних газопромывателях удается полностью связать исходный и диссоциированный хлор водородом по тракту до дымососа-смесителя 6 (см. фиг.1). Для создания хороших условий барботирования шлака, т.е. вязкости расплава в 5-8 Пуазов, в расплав подают CaO, а также вторичные, токсичные отходы собственного производства. Для организации непрерывного выхода чугуна из заднего копильника с дебетом более 1,0 т/ч производится подшихтовка расплава чугунной стружкой и мелким ломом литейного производства в количестве ~0,5 т/ч. Чугунная стружка подается из бункера 24, снабженного шнековым приводом (см. фиг.2). Газовые струи от 2 топок, расположенных по одной геометрической оси, создают в ванне 1 общий факел, который барботирует расплав и создает мощный газопромыватель в технологической зоне, который создает поперечную волну, которая увлекается потоком печного газа к горловине печи, образуя бегущую поверхностную продольную волну 74. В результате создается главный замкнутый циркуляционный поток, который доставляет шлаковую пену к задней перегородке 46. Ударной волной о шиберный затвор 37, выполненный в виде волнолома, разрушаются газовые пузыри шлаковой пены, увеличивая концентрацию коллоидов в лунке 75 перед центральным окном 72, расположенным между подоконником 73 и волноломом шиберного затвора 37 (см. фиг.2 и фиг.9). Расплав, обогащенный коллоидами, сливается по подоконнику 73 (см. фиг.9, сечение К-К) в щелевой коллектор 43. Под действием скоростного напора продольной волны 74 и разрежения до 300 мм водяного столба, создаваемого водокольцевым насосом 62 (сечение И-И, фиг.10), расплав поступает в щелевой коллектор 43, который раздает расплав в стояки, расположенные по обе стороны печи. В стояке 63 расплав дегазируется в полете, а отсасываемые газы охлаждаются в водокольцевой среде насоса 62, а затем сливаются в ванну грануляторов (см. фиг.9, 10). В грануляторе шлаковая пена, обогащенная коллоидами, дробится и охлаждается струями воды, образуя мутьевой поток, который поступает в отсек 78 флотации, где поток очищается от пустой породы: силикатов, фосфатов, карбонатов и алюмосиликатов, которые затем поступают в сгуститель, а тяжелые фракции мутьевого потока направляются в отстойники, где они оседают и в виде суспензии являются сырьем наноиндустрии. Шлак, стекающий вдоль задней перегородки 46, частично обогащается коллоидами и с помощью закрученных потоков 47, выходящих из сопел циклонных топок 6, изменяет направление движения шлака на 90° и возвращает его в передний копильник 11 (см. фиг.2). За счет центробежных сил вращающейся 2-фазной среды тяжелые фракции металлов и коллоиды будут ускоренно опускаться в придонную часть ванны, где концентрируется жидкий чугун. Таким образом, происходит обогащение чугуна коллоидами, а также завершается полный оборот главного циркуляционного потока шлака в печи, который продолжается примерно 15 минут. Из переднего копильника 11 шлак непрерывно сливается через открытое окно 15 в поворотный желоб 14 с возможностью распределить шлак по ширине аварийной ванны 13 для грануляции шлака. Охлажденный шлак удаляется ковшевым погрузчиком, который располагается со стороны аварийной ямы, свободной от жидкой струи шлака. Удаление шлака из ямы производится с соблюдением мер безопасности. В режиме термического обезвреживания отходов, охлаждение газа после печи производится в 3 этапа. На первом этапе - в водоохлаждаемом основном газоходе, содержащем кессонированные перегородки инерционных пылеуловителей, которые периодически встряхиваются для очистки рабочих поверхностей. В основном газоходе нейтрализуется NOx, а также удаляются в бункера твердые частицы и брызгоунос за счет центробежных сил, возникающих при повороте газовой струи в зоне перегородок. Очистка основного газохода и водоохлаждаемых перегородок производится в режиме «холостого хода печи», когда основной газоход закрыт шиберным затвором, а все люки газохода открыты. Очистка газохода производится аварийной бригадой с помощью сжатого воздуха и с соблюдением мер безопасности. Твердые уносы основного газохода собираются в бункере с возможностью дробления крупного уноса ножевыми устройствами ударного действия. Уносы газохода в зависимости от токсичности возвращаются в печь или гранулируются. На втором этапе охлаждают газ в укороченном котле-утилизаторе - с меньшим количеством рабочих, трубчатых секций котла, которые периодически встряхиваются для очистки труб. Замена секции котла производится в режиме «холостого хода печи». Продолжительность замены секции не более 3 часов. На третьем этапе турбиной смешивают дымовой газ с атмосферным воздухом в соотношении 1:1,8 и охлаждают газовую смесь за время 0,16 с. Промывка печных газов и режим охлаждения газов в дымососе-смесителе [7] гарантируют снижение в 800 раз суммарных выбросов токсичных диоксинов и фуранов в трубе завода по сравнению с Европейской и Российской нормой ПДК, равной 0,1 нг/м3, ибо скорость охлаждения смеси газов в дымососе-смесителе почти в 2 раза больше, чем скорость возникновения токсичных диоксинов при температуре газа 500°C. Такие уникальные результаты позволяют ликвидировать полигонное захоронение токсичных отходов и приступить к ликвидации диоксиновой агрессии в регионах. Попытки затаривания токсичных отходов в бетон, глину и даже в стекло и последующее их захоронение в почву являются опасными технологиями, ибо процессы фрагментации токсичных диоксинов продолжаются в замкнутом объеме, о чем свидетельствует вскрытие бетонных захоронений в Швеции. Последствия подобных технологий невозможно предвидеть и проконтролировать, а поэтому эти технологии не отвечают требованиям безопасности окружающей среды. Из дымососа-смесителя 6 газовая смесь выходит с температурой 200°C и поступает в распылительный абсорбер 7 , где известковое молоко подается на быстро вращающийся диск и разбрызгивается в объеме реактора сухой очистки газа 7 . В результате вредные газы и пары связываются в нетоксичные соединения, образуя хлориды, фториды, сульфаты кальция и другие твердые вещества. Окончательная очистка газа от пыли производится в электрофильтре 8 , далее газ поступает в дымосос 9 и дымовую трубу 11 (см. фиг.1). Таким образом, энергетический комплекс МСЗнп в режиме термического обезвреживания хлорсодержащих отходов может непрерывно работать с длительными кампаниями и кратковременными остановками печи на текущие ремонтные работы, связанные с заменой циклонных топок или боковых кессонов ванны печи. Термическая стойкость футерованной камеры сгорания циклонной топки зависит от качества огнеупоров - колец, выполненных из периклазошпинелида, также от температуры и скорости дутья. На заводе «Рязцветмет» при периодическом фьюминговании шлаков [2] в табл. стр.36 указаны параметры циклонных топок сжигающих природный газ с объемным расходом 350 м3 /ч с температурой газового потока 1500-1600°C и скоростью дутья 240 м/с. В предлагаемом способе «МСЗнп» в условиях непрерывного процесса приняты более щадящие параметры: температура 1450°C дутья и скорость по оси газового потока 170 м/с, поэтому прогнозируемая стойкость циклонных топок на «МСЗнп» может составить 240-400 часов непрерывной работы. Время замены топки на печи составит 0,65 часа и выполняется двумя рабочими. Новая топка обязательно заранее прогревается на стенде до температуры 500°C (внутри камеры сгорания), чтобы исключить растрескивания футеровки. Состояние циклонной топки в работе контролируется по температуре слива воды из камеры охлаждения, а также по величине противодавления (сопротивления) в системе подачи воздуха в топку. Контроль работы циклонных топок осуществляет оператор. Замену 12 топок или возможную очистку сопл от настылей производит аварийная бригада в составе 4 рабочих. Для замены или очистки сопл необходимо опустить уровень шлака с помощью промежуточной летки, а затем выключить питание (природный газ, воздух) для 2х топок, образующих газопромыватель. Отделить камеру сгорания от сопла и с помощью грузоподъемной тали поднять камеру и освободить место для очистки сопла от настылей. Время очистки всех сопл на печи составляет 1,5 часа. Время подъема уровня расплава в шахте печи до номинального положения при максимальном расходе природного газа на топку 350 м3/ч составляет 12 часов (2 смены), при производительности толкателя по шихте около 20 т/ч. Прогнозируемая стойкость стального кессона испарительного охлаждения составляет 2 года - время капитального ремонта печи. Замена бокового кессона производится на горячем поде с сохранением остаточного объема жидкой ванны в корытообразной подине, которая расположена в стальном коробе 49 с футеровкой из хромомагнезита. Снятие кессона производится с помощью монорельсовой тележки с грузоподъемной талью, с возможностью транспортировки и поворота кессона на крюке на 90° для проводки его через барьерную гряду и установки на монтажный стеллаж. Новый кессон устанавливается в обратном порядке. Время замены кессона составляет не более 3 часов по регламенту, при этом остальные газопромыватели печи обогревают зеркало расплава топочными газами. Степень сортировки ТБО - любая. Желательно не сортировать ТБО, а горючие фракции сохранить в шихте, что позволит уменьшить расход топлива, а также устранит миграцию токсичных диоксинов в товарах из отходов. В этом случае можно приступить к ликвидации диоксиновой агрессии в регионах [8]. Вторичные твердые отходы газоходов и котла в зависимости от токсичности могут возвращаться в жидкую ванну или гранулироваться. Отходы абсорбера используются для подшихтовки исходных отходов или отсыпки дорог в зимнее время. Отходы электрофильтра используются в металлургии.
Вторичные ресурсы
(нажмите чтобы развернуть)
Гранулированные шлаки, Чугунная дробь, Энергетический пар с температурой 305°C и давлением 16 кг/см2, Пыль электрофильтра (для металлургии);
Требования
(нажмите чтобы развернуть)
Для получения температуры по оси газового потока 1500°C необходимо подавать в топку подогретый воздух до 200°C. Новая топка обязательно заранее прогревается на стенде до температуры 500°C (внутри камеры сгорания)
Ограничения
(нажмите чтобы развернуть)
ограничений не предусмотрено
Оценка
(нажмите чтобы развернуть)
Тип оценки
Оценка
Оценка экономической эффективности
Высокая
Прикрепленные файлы
1
Схема 1
2
Схема 10
3
Схема 2
4
Схема 3
5
Схема 4
6
Схема 5
7
Схема 6
8
Схема 7
9
Схема 8
10
Схема 9
Распечатать информацию
Назад