Электронная база данных инновационных решений
и проектов по обращению с отходами
Войти
На главную
Посмотр проекта : СПОСОБ УТИЛИЗАЦИИ ФРАГМЕНТИРОВАННЫХ ОТХОДОВ ВЗРЫВЧАТЫХ ВЕЩЕСТВ И БАЛЛИСТИТНЫХ ТВЕРДЫХ РАКЕТНЫХ ТОПЛИВ
Название проекта
На русском
На английском
Информация об авторах
(нажмите чтобы развернуть)
Карелин Валерий Александрович (RU), Томак Виктор Иванович (RU), Мелешко Владимир Юрьевич (RU), Горбачев Валентин Александрович (RU), Гордюхин Александр Алексеевич (RU), Чобанян Владимир Аршалуйсович (RU)
Информация об интеллектуальной собственности
(нажмите чтобы развернуть)
Патентообладатель: Закрытое акционерное общество "Петровский научный центр "Фугас" (RU) RU 2446355 C2 F23G7/00 (2006.01) F23G7/07 (2006.01)
Дата патента, Статус, Группа отходов
Запатентован
Не запатентован
Патент приостановлен
Чрезвычайно опасные
Высоко опасные
Умеренно опасные
Малоопасные
Практически неопасные
НИОКР
Тематическое направление
Ключевые слова
Аннотация на русском
(нажмите чтобы развернуть)
Способ утилизации фрагментированных отходов взрывчатых веществ и баллиститных твердых ракетных топлив путем подачи водной суспензии таких отходов в реактор сжигания с циркулирующим псевдоожиженным слоем. Водная суспензия содержит 10 мас.% измельченных отходов, беззольный консистентный несамогорящий горючий материал, катализатор разложения оксидов азота или его предшественник и загущающий агент. Вязкую суспензию подают в реактор сжигания через двухфазные питатели с распылением с помощью воздуха. Расход вязкой горючей суспензии в смеси с избытком воздуха задают в соответствии объемом реактора сжигания, суммарной теплотой сгорания смеси и временем пребывания продуктов сгорания в верхнем газовом пространстве реактора сжигания. Зоны действия питателей в реакторе сжигания изолируют друг от друга с помощью зонированного распределения воздуха псевдоожижения через воздухораспределительную решетку. Температуру нагрева псевдоожиженного слоя поддерживают путем регулируемого съема тепла с возвращаемого в псевдоожиженный слой зернистого материала внешней циркуляции. Технический результат: обеспечение безопасности технологически упрощенной энергосберегающей утилизации отходов взрывчатых веществ и баллиститных твердых топлив с ограниченным выбросом в окружающую среду нетоксичной пыли. 7 з.п. ф-лы, 2
Аннотация на английском
(нажмите чтобы развернуть)
Корреляция с другими проектами
(нажмите чтобы развернуть)
Наиболее близким по технической сущности и достигаемому результату аналогом является способ инсинерации отходов нитросодержащих материалов по схеме, которая минимизирует выброс оксидов азота. Реализацию этой схемы проводят в реакторе сжигания с циркулирующим псевдоожиженным слоем, в котором слой зернистого материала поддерживается в псевдоожиженном состоянии с помощью подвода первичного псевдоожижающего воздуха через донную воздухораспределительную решетку. Выше псевдоожиженного слоя в реакторе сжигания имеется верхнее газовое пространство для дожигания продуктов неполного сгорания, формирования внутреннего и внешнего взвешенных циркуляционных потоков зернистого материала и отвода газообразных продуктов сгорания с взвешенным зернистым материалом в сепаратор циклонного типа. Циркулирующий зернистый материал из сепаратора по линии возврата поступает в нижнюю зону псевдоожиженного слоя через газовый затвор. Используемое для нагрева слоя зернистого материала вспомогательное горючее подают через питатели в зоне псевдоожиженного слоя. Через отдельный питатель в зону псевдоожиженного слоя вводят отходы ВВ в виде водной суспензии. Выше верхней границы слоя имеются каналы подачи вторичного воздуха. Отходы таких материалов, как тринитротолуол, гексоген и другие, сжигают сначала вместе с вспомогательным газовым горючим при недостатке первичного воздуха в псевдоожиженном слое каталитически активного зернистого материала. Затем к полученным газообразным продуктам добавляют вторичный воздух, обеспечивающий избыток окислителя в смеси, и образовавшаяся газовая смесь догорает, давая конечные продукты сгорания с минимальным количеством NO X, монооксида углерода и углеводородов. Никель и его соединения считаются предпочтительными катализаторами. Отходы ВВ или баллиститных твердых топлив в виде текучей измельченной флегматизированной водой суспензии до подачи в реактор сжигания поддерживают в режиме непрерывной циркуляции для исключения расслоения воды и суспендированной твердой фазы [4].
Техническая информация
(нажмите чтобы развернуть)
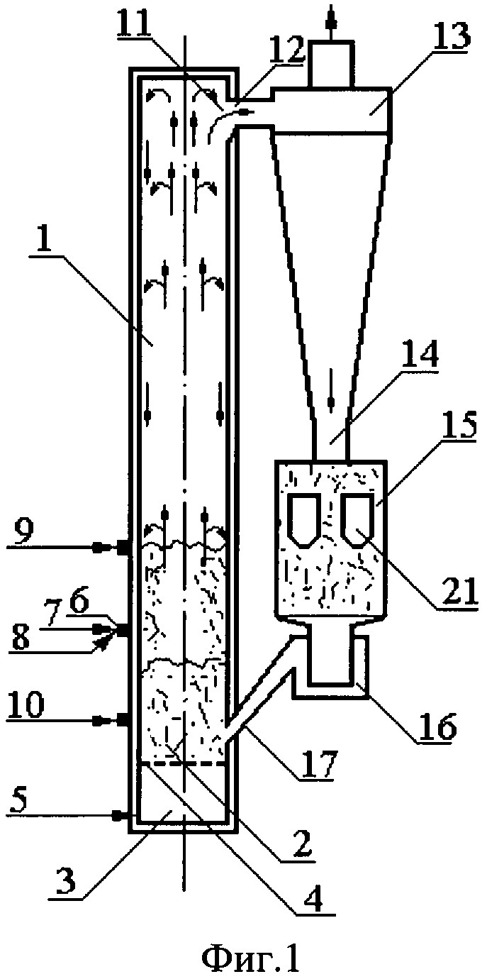
Поставленная техническая задача решается тем, что в способе утилизации фрагментированных отходов взрывчатых веществ и баллиститных твердых ракетных топлив, включающем измельчение и смешение фрагментированных отходов с водой, подачу образовавшейся текучей флегматизированной суспензии через питатели в нагретый циркулирующий псевдоожиженный слой зернистого материала реактора сжигания с верхним газовым пространством над псевдоожиженным слоем, раздельную подачу в реактор сжигания воздуха псевдоожижения через донную воздухораспределительную решетку и вторичного воздуха дожигания через каналы в стенках реактора сжигания, отвод продуктов сгорания с взвешенным зернистым материалом из реактора сжигания в сепаратор и возвратом зернистого материала в нижнюю зону псевдоожиженного слоя через газовый затвор, особенностью является то, что образование текучей флегматизированной водной суспензии производят с добавлением в нее измельченных беззольного консистентного несамогорящего горючего материала, твердого катализатора или его предшественника и загустителя при содержании в ней не более 10 мас.% взрывчатого вещества или эквивалентного по мощности взрыва количества баллиститного твердого ракетного топлива, подачу указанной суспензии производят через двухфазные питатели с воздушным распылением на капли и смешиванием распыленной суспензии с нисходящим по стенке реактора сжигания пограничным слоем зернистого материала, суммарный расход m, кг/с подаваемых в реактор сжигания текучей флегматизированной суспензии и воздуха определяют из соотношения mHtпр =EудV, где H - суммарная теплота сгорания компонентов, МДж/кг, tпр - время пребывания горючих продуктов в верхнем газовом пространстве реактора сжигания над псевдоожиженным слоем, с; V - объем реактора сжигания, м3, Eуд =0,5-0,6 - удельная объемная энергоемкость реактора сжигания, МДж/м3, при этом производят разграничение зоны действия питателей по периметру стенок реактора сжигания путем зонированного распределения расхода воздуха псевдоожижения по площади воздухораспределительной решетки, а поддерживание требуемой температуры псевдоожиженного слоя производят путем регулируемого отвода тепла от возвращаемого из сепаратора в псевдоожиженный слой зернистого материала. В частных вариантах изобретения в качестве фрагментированных отходов взрывчатых веществ используют отходы гексогена после гидродинамического вымывания из артиллерийских снарядов. В качестве беззольного консистентного несамогорящего горючего материала используют отходы полиуретана с теплотой сгорания 25 МДж/кг. В качестве загустителя используют водорастворимые полимеры, например поливиниловый спирт или полиакриламид. В качестве предшественника катализатора используют дигидрат оксалата железа (II) в количестве не менее 0,07 г/г гексогена. Регулируемый отвод тепла от возвращаемого из сепаратора в псевдоожиженный слой зернистого материала производят путем его контакта с нагреваемыми в процессе термической дегазационной обработки металлическими корпусами снарядов. Смешивание распыленной суспензии с нисходящим по стенке реактора сжигания пограничным слоем зернистого материала производят на выступающем внутрь реактора сжигания профилированном лотке двухфазного питателя. Используют сепаратор циклонного типа. Сравнительный анализ существенных признаков ближайшего аналога и предлагаемого способа показывает, что отличительными признаками предложения являются те, в соответствии с которыми: - готовят текучую флегматизированную суспензию ВВ с содержанием не более 10% ВВ или эквивалентного количества по мощности взрыва количества баллиститного твердого ракетного топлива и добавлением беззольного консистентного несамогорящего горючего материала, твердого катализатора или его предшественника и загустителя; - подают суспензию через питатели с воздушным распылом на капли и смесительным взаимодействием распыленной суспензии с нисходящим по стенке реактора сжигания пограничным слоем зернистого материала внутренней циркуляции; - задают расход воздуха и текучей флегматизироанной суспензии ВВ в реактор сжигания из условия mHtпр=E удV, где m - суммарный секундный расход всех компонентов топливной смеси, кг/с; H - суммарная теплота сгорания компонентов, МДж/кг; tпр- - время пребывания горючих материалов в газовом пространстве реактора сжигания, с; V - объем реактора сжигания, м3, Eуд=0,5-0,6 - удельная объемная энергоемкость реактора, МДж/м3; - разграничивают зоны действия питателей по периметру стенок реактора сжигания путем зонированного распределения расхода воздуха псевдоожижения по площади воздухораспределительной решетки; - поддерживают требуемую температуру псевдоожиженного слоя путем регулируемого отвода тепла от возвращаемого из сепаратора в псевдоожиженный слой зернистого материала. Сущность настоящего предложения будет более понятна из рассмотрения фигур чертежа, где на фиг.1 представлена схема реализации предложенного способа в реакторе сжигания с циркулирующим псевдоожиженным слоем, на фиг.2 показына схема питателя со смесительным взаимодействием диспергируемой суспензии с пограничным слоем нисходящего течения зернистого материала внутренней циркуляции Как показано на фиг.1, установка для осуществления способа состоит из ректора сжигания 1 с нагретым псевдоожиженным слоем 2 из зернистого материала, удерживаемого в рабочем состоянии путем подачи через коллектор 3 и далее через донную воздухораспределительную решетку 4 воздуха псевдоожижения по каналу 5 от компрессора или воздуходувки (не показан). Выше воздухораспределительной решетки 4 в зоне псевдоожиженного слоя в стенках камеры сжигания закреплены питатели 6 с линиями подвода 7 текучей вязкой флегматизированной суспензии. К питателям подведены также дополнительные линии подачи распыляющего воздуха 8. Число питателей определяется допустимыми расходами суспензии через один питатель по условиям безопасности, характеристикам распыливания и требуемой производительностью установки. На уровне верхней границы псевдоожиженного слоя в рабочем состоянии в боковых стенках реактора сжигания закреплены сопла 9 подачи воздуха дожигания. Питатели могут быть совмещены с системой подачи стартового газообразного горючего 10. В верхнем газовом пространстве реактора сжигания размещен проем 11, соединенный с газоходом 12 к сепаратору 13, например, циклонного типа. Газовый выход сепаратора 13 соединен с батареей пылеосадителей (не показана). Выход из сепаратора 13 твердой фазы соединен каналом возврата 14 с утилизатором тепловой энергии 15 - регулятором режима работы реактора сжигания и далее с газовым затвором 16 и входом 17 в нижнюю часть псевдоожиженного слоя в реакторе сжигания 1. При осуществлении способа утилизации фрагментированные отходы ВВ, которые поступают с установки вымывания снарядов гидрокавитационным способом в виде обводненных фрагментов и частиц с размерами 0,2-10 мм, измельчают с помощью струйного дезинтегратора по RU 2202763 до размеров 0,10-0,15 мм. Далее в смесительный аппарат с мешалкой загружают при перемешивании в соответствии с технологическим регламентом отмеренные количества воды, измельченных отходов беззольного консистентного несамогорящего горючего, измельченных отходов ВВ, мелкокристаллического предшественника катализатора дигидрата оксалата железа (II) и навески загущающего агента. Предпочтительными загущающими агентами являются поливиниловый спирт и полиакриламид. Концентрации полиакриламида 1 мас.% достаточно для повышения вязкости до 100 сП, а при 2 мас.% - до 1200 сП. Готовую суспензию с помощью диафрагменного насоса направляют в реактор сжигания. Перед началом работы осуществляют разогрев псевдоожиженного слоя стартовым газовым горючим, поступающим через систему подачи 10 в нижнюю зону псевдоожиженного слоя при использовании воздуха псевдоожижения для горения. После разогрева до заданной температуры начинают подачу суспензии. Подачу суспензии в реактор сжигания осуществляют с помощью двухфазных питателей 6 с воздушным распылом на капли и смесительным взаимодействием распыленных капель с нисходящим по стенке реактора сжигания пограничным слоем зернистого материала внутренней циркуляции. Известны двухфазные питатели для подачи вязких жидкостей и суспензий с вихревым распылом, туннельные распылители, с дисковым распылителем и сносящим воздушным потоком. В представленной на фиг.2 схеме предпочтительного двухфазного питателя суспензию из струйного сопла 18 направляют вниз на профилированный лоток 19, на котором происходит превращение струи в растекающуюся пелену и волнообразование пелены. На растекающуюся пелену суспензии накладывают сверху струю воздуха из сопла 20. Взаимодействие пелены суспензии и потока воздуха с большей скоростью, чем скорость движения пелены суспензии, усиливает неустойчивость течения и вызывает отрыв капель. Кромка профилированного лотка 19 с подъемом на 10-15° выступает внутрь реактора дожигания на расстояние, соизмеримое с толщиной пограничного слоя зернистого материала внутренней циркуляции. Контакт капли суспензии с горячей частицей зернистого материала вызывает образование паровой прослойки между ними и силу взаимного отталкивания, что приводит к выравниванию направления движения капель по горизонтали. Это необходимо для повышения дальности распространения частиц ВВ и горючего материала по площади поперечного сечения реактора сжигания и уменьшения неравномерности поля температур. Воздействия на подогретую каплю следующих частиц зернистого материала будут усиливать ее испарение, образование оболочки из высушенного материала загустителя и сохранение твердых продуктов капли в контакте друг с другом перед разрывом оболочки и выходом в среду псевдоожиженного слоя. Горение частиц ВВ начинается при температуре около 200°C. При температурах в этом же диапазоне начинается разложение беззольного консистентного несамогорящего горючего, в примере полиуретана, и предшественника катализатора, в примере оксалата железа. Практически, каждая капля суспензии создает во внутренней среде псевдоожиженного слоя локальную зону (пузырь) с восстановительной атмосферой, катализатором, источником оксидов азота и источником тепла. Эта локальная зона (пузырь) перемещается внутри псевдоожиженного слоя вверх под действием воздуха псевдоожижения. За счет проникающего внутрь локальной зоны воздуха происходит дожигание продуктов разложения беззольного консистентного несамогорящего горючего и поддержание температуры псевдоожиженного слоя. После выхода пузыря из псевдоожиженного слоя в верхнее газовое пространство реактора сжигания происходит смешение его содержимого с окружающей средой, окончательное дожигание продуктов неполного сгорания вторичным воздухом и выравнивание температур и концентраций с помощью потока выносимого зернистого материала слоя. В верхнем газовом пространстве реактора сжигания часть выносимого зернистого материала отражается от торцевой поверхности и направляется вниз преимущественно в виде нисходящего пограничного слоя внутренней циркуляции, а остальной поток вместе с газообразными продуктами сгорания через проем 11 и газоход 12 попадает в сепаратор 13 циклонного типа. Под действием центробежных сил тяжелый зернистый материал внешней циркуляции отделяется от газов и по стенке сепаратора движется вниз в канал возврата 14, а газообразные продукты удаляются через центральный канал вихревой камеры сепаратора. Поступающий по каналу возврата 14 в утилизатор тепловой энергии 15 зернистый материал внешней циркуляции отдает свое тепло металлическим корпусам артиллерийских снарядов 21 после вымывания из них целевого наполнителя. Количество отбираемого от зернистого материала тепла для дегазации корпусов рассчитывают так, чтобы при возвращении зернистого материала в псевдоожиженный слой реактора сжигания в условиях подачи и горения в нем текучей вязкой флегматизированной суспензии не происходило ни снижение температуры слоя, ни ее повышение. Таким отбором тепла регулируют режим работы реактора сжигания. Из утилизатора 15 охлажденный зернистый материал через газовый затвор 16, исключающий проход газов из реактора сжигания навстречу потоку зернистого материала из сепаратора, самотеком или с дополнительным псевдоожижением поступает через вход 17 в нижнюю часть псевдоожиженного слоя в реакторе сжигания 1. Разграничение зон действия двухфазных питателей 6 по периметру реактора сжигания повышенной производительности исключает наложение полей концентраций распыленных материалов суспензии соседних питателей и возможность развития самоускоряющегося горения по всему сечению реактора 1, переходящего во взрыв. В псевдоожиженном слое эффективный коэффициент диффузии взвешенных материалов в вертикальном направлении много больше, чем в горизонтальном направлении. При выполнении воздухораспределительной решетки с локальными зонами повышенного расхода воздуха, соответствующими полям концентраций материалов суспензии по потоку от решетки, обеспечивают основное движение сжигаемых материалов вертикально вверх без размывания по горизонтальному поперечному сечению. Предшественник катализатора дигидрат оксалата железа (II) FeC2O4·2H2O в виде светло-желтых кристаллов с теоретической плотностью 2,28 г/см 3 имеет очень низкую растворимость в воде и температуру начала разложения 160°C. Продуктами его разложения являются, в зависимости от температуры разложения, Fe3O 4, Fe3C, Fe, FeO, H2O, CO, CO 2 и C. Активными катализаторами превращения оксидов азота в азот являются Fe и FeO. На восстановление 6 нитрогрупп -NO 2 из молекулы гексогена C3H6N 6O6 потребуются от 6 до 8 атомов Fe. Отсюда, на 222 г ВВ необходимо (6-8)·56 г=336-448 г Fe или 1,513-2,018 г оксалата/г гексогена. Вследствие каталитической природы атомарного железа, которое после окисления восстанавливается в среде с присутствием CO и H2 с числом циклов окисления-восстановления более 100 с-1, потребность в оксалате сокращается до 0,05-0,07 г оксалата железа (II)/г гексогена. При утилизации других ВВ с иным числом нитрогрупп потребность в предшественнике катализатора в суспензии корректируется. Объем утилизации влажных ВВ от установок вымывания, существующих на начало 2009 г., находится на уровне 10-15 кг/час. Вымывной установке может быть придана установка утилизации с реактором на такой расход. После внедрения установок массового вымывания с производительностью 100-150 кг/ч возможно будет получение большего положительного эффекта от утилизации ВВ, кроме дегазации вымытых корпусов снарядов.. Применительно к инсинерации 15 кг/ ч гексогена или 4,17 г/с был проведен оценочный расчет параметров установки с учетом известного опыта конструирования реакторов сжигания с псевдоожиженным (кипящим) слоем. В качестве беззольного консистентного несамогорящего горючего могут быть использованы измельченные до размеров частиц менее 0,10-0,15 мм отходы различных полимерных материалов со сравнительно низкими температурами воспламенения и достаточными теплотами сгорания, например, полиэтилена с 46,5 МДж/кг, полиметилметакрилата с 26,0 МДж/кг, полиуретана с 25,0 МДж/кг. Утилизация отходов горючих полимерных материалов является актуальной проблемой в мире. Было замечено, что удельная объемная энергоемкость Eуд реакторов различной мощности является практически постоянной величиной и может быть использована в проектировании новых реакторов на заданную энергонапряженность (тепловую мощность) при определении объема реактора V: где m - суммарный секундный расход всех компонентов топливной смеси; H - суммарная теплота сгорания горючих компонентов; tпр - время пребывания веществ в реакторе. Оценка значений величины Eуд для различных реакторов с кипящим слоем по литературным данным показала что в первом приближении все величины находятся в диапазоне Eуд=0,5-0,6 МДж/м 3 и для расчета примера была выбрана величина Eуд =0,565 МДж/м3, соответствующая данным конкретного энергетического реактора с тепловой мощностью 520 МВт. Для рассматриваемого случая с расходом гексогена 4,17 г/с, расходом полиуретана 8,34 г/с, массовым расходом воздуха на сжигание 0,1501 кг/с, расходом воды 29,19 г/с и теплотой испарения воды 44,041 кДж/моль, энергонапряженность Ef=mH от сжигания суспензии гексогена с полиуретаном составила Ef=0,17891 МДж/с, что позволило при tпр=1 с определить объем реактора V=0,17891/0,565=0,3166 м3. При принятом диаметре 0,35 м высоту реактора определили H=3,29 м. По рекомендациям Johnsson (12-th International Conference on Fluidization, 2007, Article 131) должно быть выдержано условие H 10D. По полученному объемному расходу воздуха 0,1241 нм 3/с и площади поперечного сечения реактора F=0,09621 м 2 нашли приведенную скорость воздуха в реакторе U=1,289 м/с. Высоту Hb слоя зернистого материала в статическом состоянии по рекомендациям Johnsson назначили H b/D<1, конкретно 0,3 м; в этом случае объем слоя получили 0,02886 м3, а масса слоя при порозности в статическом состоянии 0=0,35 и плотности материала 2500 кг/м3 составила 46,9 кг. В рабочем состоянии при предельной порозности в режиме псевдоожижения f=0,8 высоту слоя получили Hbf=H b(1- 0)/(1- 0)=0,9525 м Плотность тока внешней циркуляции зернистого материала по рекомендациям Johnsson принимается в диапазоне Gs,net=0,5-20 кг/м2c. В первом приближении, выбрали Gs,net=1 кг/м2c и при площади поперечного сечения реактора 0,09621 м2 массовый расход зернистого материала по линии внешней циркуляции получили Gs,netF=0,09621 кг/с. Полученный отбор тепла циркулирующим зернистым материалом внешней циркуляции по линии возврата был достаточным для дегазации 6 корпусов снарядов с общей массой 42 кг.
Вторичные ресурсы
(нажмите чтобы развернуть)
не вырабатываются
Требования
(нажмите чтобы развернуть)
дополнительных требований не предъявляется
Ограничения
(нажмите чтобы развернуть)
ограничений не предусмотрено
Оценка
(нажмите чтобы развернуть)
Тип оценки
Оценка
Оценка плана действий по реализации разработки (проекта)
Хорошая
Прикрепленные файлы
1
Фигура 1
2
фигура 2
3
Формула
Распечатать информацию
Назад