Электронная база данных инновационных решений
и проектов по обращению с отходами
Войти
На главную
Посмотр проекта : СПОСОБ И УСТРОЙСТВО ДЛЯ ОБРАБОТКИ ЖИДКИХ МАТЕРИАЛОВ НА ОСНОВЕ ОРГАНИЧЕСКИХ ОТХОДОВ
Название проекта
На русском
На английском
Информация об авторах
(нажмите чтобы развернуть)
БЛОМКВИСТ Ове (NO)
Информация об интеллектуальной собственности
(нажмите чтобы развернуть)
Патентообладатель: БЛОМКВИСТ Ове (NO) RU 2447028 C2 C02F11/14 (2006.01) B01F7/16 (2006.01) C05F7/00 (2006.01)
Дата патента, Статус, Группа отходов
Запатентован
Не запатентован
Патент приостановлен
Чрезвычайно опасные
Высоко опасные
Умеренно опасные
Малоопасные
Практически неопасные
НИОКР
Тематическое направление
Ключевые слова
Аннотация на русском
(нажмите чтобы развернуть)
ИЗОБРЕТЕНИЕ ОТНОСИТСЯ К СПОСОБУ И УСТРОЙСТВУ ДЛЯ ОБРАБОТКИ ЖИДКИХ МАТЕРИАЛОВ НА ОСНОВЕ ОРГАНИЧЕСКИХ ОТХОДОВ ПРОИЗВОДСТВА, В ОСОБЕННОСТИ ОСАДКОВ ОЧИСТНЫХ СТАНЦИЙ И Т.П. МАТЕРИАЛ ОСАДКА СМЕШИВАЮТ С ХИМИЧЕСКИМИ РЕАГЕНТАМИ, В ЧАСТНОСТИ СЕРНОЙ КИСЛОТОЙ ИЛИ АЗОТНОЙ КИСЛОТОЙ И АММИАКОМ, В ХОДЕ ИСПАРЕНИЯ И ДЕГАЗИФИКАЦИИ ЖИДКОСТИ ИЗ МАТЕРИАЛА ДЛЯ УВЕЛИЧЕНИЯ В НЕМ СОДЕРЖАНИЯ ТВЕРДЫХ ВЕЩЕСТВ. МАТЕРИАЛ НЕПРЕРЫВНО ВВОДЯТ В ВЕРХНЮЮ ЧАСТЬ ВЕРТИКАЛЬНОЙ ЕМКОСТИ ДЛЯ СМЕШИВАНИЯ, В КОТОРОЙ МАТЕРИАЛ ПОДВЕРГАЮТ ПЕРЕМЕШИВАНИЮ. ПОСЛЕ ЭТОГО МАТЕРИАЛ ПРОХОДИТ В РЕАКЦИОННУЮ ЕМКОСТЬ ДЛЯ ОБРАБОТКИ КИСЛОТОЙ. ПРИ ЭТОМ МАТЕРИАЛ ПОДВЕРГАЮТ УДАРНОМУ ВОЗДЕЙСТВИЮ НЕСКОЛЬКИХ УСТРОЙСТВ РОТАЦИОННОЙ ОБРАБОТКИ, РАСПОЛАГАЮЩИХСЯ В РЕАКЦИОННОЙ ЕМКОСТИ. ДАЛЕЕ МАТЕРИАЛ ПРОХОДИТ В РЕАКЦИОННУЮ ЕМКОСТЬ ДЛЯ ОБРАБОТКИ АММИАКОМ, ГДЕ МАТЕРИАЛ ПОДВЕРГАЮТ УДАРНОМУ ВОЗДЕЙСТВИЮ НЕСКОЛЬКИХ УСТРОЙСТВ РОТАЦИОННОЙ ОБРАБОТКИ. ПОСЛЕ ЭТОГО МАТЕРИАЛ ПОСТУПАЕТ В СУШКУ, В КОТОРОЙ МАТЕРИАЛ СУШАТ ДО ДОСТИЖЕНИЯ ЗАДАННОГО СОДЕРЖАНИЯ ТВЕРДЫХ ВЕЩЕСТВ. ОБЕСПЕЧИВАЕТСЯ УВЕЛИЧЕНИЕ СТЕПЕНИ РЕАКЦИИ, УВЕЛИЧЕНИЕ СТЕПЕНИ ГИДРАТАЦИИ И ДОЛИ АЗОТА/СОДЕРЖАНИЕ ПИТАТЕЛЬНЫХ ВЕЩЕСТВ КОНЕЧНОГО ПРОДУКТА УДОБРЕНИЯ. ВОЗМОЖНО УМЕНЬШЕНИЕ ИСПОЛЬЗОВАНИЯ ХИМИЧЕСКИХ ВЕЩЕСТВ ЗА СЧЕТ ЗНАЧИТЕЛЬНОГО УВЕЛИЧЕНИЯ ЗАХВАТА ДОБАВЛЕННЫХ ПИТАТЕЛЬНЫХ ВЕЩЕСТВ В ПРОДУКТЕ УДОБРЕНИЯ. 2 Н. И 14 З.П. Ф-ЛЫ, 2 ИЛ.
Аннотация на английском
(нажмите чтобы развернуть)
Корреляция с другими проектами
(нажмите чтобы развернуть)
Известные перерабатывающие производства для переработки сточных вод, например, в продукты органических удобрений основываются на подаче материала партиями в камеру для технологической обработки, в которую добавляют химические реагенты. Добавление химических реагентов к массе вызывает прохождение реакций, которые влияют на выделение тепла и испарение жидкости, изменение рН и повышение содержания азота в конечном продукте. К обработанной таким химическим способом массе затем подают тепло для испарения жидкости для достижения желательного процентного содержания твердого вещества в конечном продукте.
Техническая информация
(нажмите чтобы развернуть)
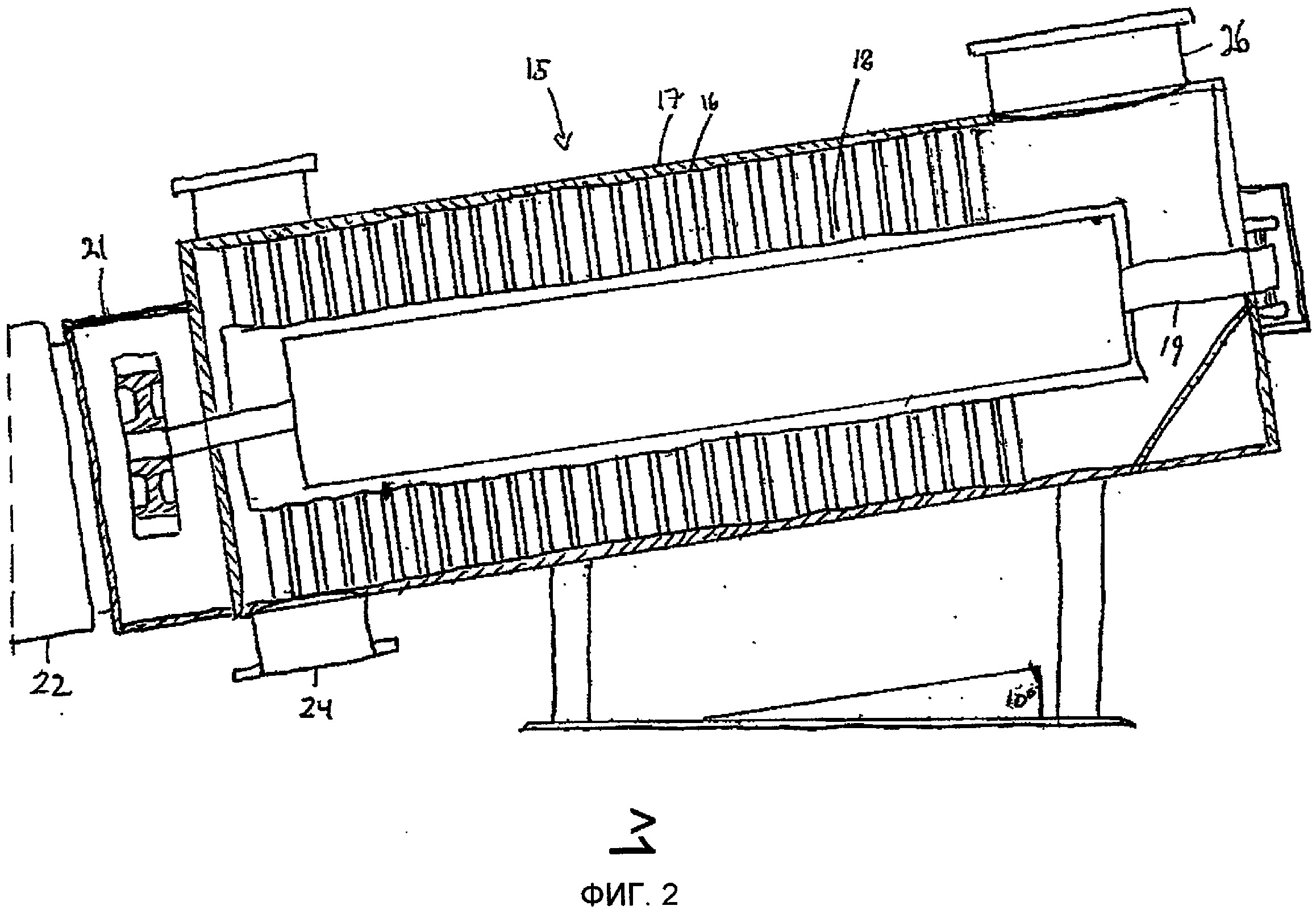
Способ согласно изобретению, как схематически показано на фиг.1, включает несколько стадий способа, где первая стадия включает подачу биологической массы в форме осадка из очистных сооружений и возможно других органических отходов производства, например, в емкость для смешивания 1. Емкость для смешивания 1 может содержать, например, цилиндрическую толстостенную стальную емкость, обеспечиваемую внешним электрическим нагревательным контуром, индукционной катушкой, нагревательным контуром 2 на основе воды/газа или т.п. Предпочтительно емкость для смешивания 1 содержит внешнюю теплоизоляционную рубашку 3. Внутри емкости для смешивания 1 располагаются несколько роторов 4, каждый из которых содержит несколько динамических лопастей на различных уровнях по вертикали. Роторы 4 могут приводиться в движение электрическим или гидравлическим двигателем 5, например, возможно в комбинации с клиновидным ремнем или т.п. Цель емкости для смешивания 1 состоит в размешивании биомассы до состояния гомогенной смеси, разбивании более крупных частиц на мелкие, диспергировании частиц и в нагревании биомассы при использовании комбинации фрикционной обработки и подводимого тепла до примерно, например, 55°С. Из емкости для смешивания 1 отработанный газ выводят через выводной газовый штуцер 6 в конденсатор 7, конденсат из которого будет превосходным образом пригоден для использования в качестве удобрения. Из емкости для смешивания 1 предварительно обработанная биомасса будет под действием силы тяжести падать непосредственно в реакционную емкость 8 для обработки серной кислотой. Указанная обработка серной кислотой образует этап 2 способа. Реакционная емкость 8, как и емкость для смешивания 1, включает цилиндрическую толстостенную стальную емкость, и в настоящем варианте осуществления, приведенном в качестве примера, соединена фланцевым типом соединения с емкостью для смешивания 1. Как и емкость для смешивания 1 реакционная емкость 8 включает внешнюю теплоизоляционную рубашку 3, но в отличие от емкости для смешивания 1 реакционная емкость 8 не включает контур обогрева 2. Реакционная емкость 8 также включает роторы 9 с тем, что роторы 9 реакционной емкости 8 разделяют или присоединены к оси ротора 10 роторов 4 емкости для смешивания 1. Роторы 9 расположены таким образом, чтобы оказывать (динамическое) воздействие поочередно в противоположных направлениях. Этого можно достичь, если ось ротора 10 обеспечивают множеством колец 11 с лопастями, каждое из колец с лопастями обеспечивается несколькими динамическими лопастями, как, например, 4 в каждом кольце с лопастями. Первое кольцо с лопастями может монтироваться на оси ротора 10 шлицевым соединением с другим кольцом с лопастями, вращающимся в противоположном вращательном направлении при помощи шлицевого соединения и планетарной передачи, состоящей из центральной шестерни, шестерни планетарной передачи, гнезда шестерни планетарной передачи и внутренней зубчатой венцовой шестерни, а также обгонной муфты, работающей по принципу заклинивания брусков, между осью ротора 10 и гнездом шестерни планетарной передачи. Все последующие кольца с лопастями имеют то же направление вращения, что и первое кольцо с лопастями или также (предпочтительно) каждое второе кольцо с лопастями может вращаться в противоположном направлении, в зависимости от используемого числа планетарных передач и в действительности также в зависимости от числа колец 11 с лопастями, включенных в реакционную емкость 8. Самое нижнее кольцо с лопастями специальным образом разработано для выброса биомассы под действием центробежной силы через выводной штуцер 12 реакционной емкости 8 в следующую стадию способа 3. Следует понимать, что реакционная емкость 8 может быть также полностью или частично отделена от емкости для смешивания 1, в таком случае емкость для смешивания 1 может включать выводной штуцер, через который биомасса может выгружаться и проходить через пригодный трубопровод в реакционную емкость 8. Следует также понимать, что не требуется того, чтобы емкость для смешивания 1 и реакционную емкость 8 имели общую ось ротора 10, несмотря на то, что по крайней мере в настоящем примере это рассматривается как удобная в практике черта. Выше колец 11 с лопастями в реакционной емкости 8 в представленном в качестве примера варианте осуществления обеспечен впускной трубопровод 13 для серной кислоты. Цель реакционной емкости 8 состоит в выполнении реакционной обработки биомассы при использовании серной кислоты для 1) высвобождения воды, связывающей микроскопическими межклеточными взаимодействиями биомассу, 2) добавления дополнительного органически связанного питательного вещества в биомассу, 3) фрикционной обработки биомассы для ускорения реакций и повышения температуры, 4) понижения рН до уровня в диапазоне, например, от 0,5 до 2, 5) увеличения температуры биомассы за счет экзотермической реакции до примерно 85°С (предпочтительно выше примерно 70°С), например, при понижении рН и нагревании, обеспечивая двукратное санирование биомассы и 6) дегазификации воды в емкости для смешивания 1 и через выводной штуцер 6 в конденсатор 7. Было обнаружено, что, в частности, встречное вращение колец с лопастями 11 одновременно с увеличением температуры, связанным с добавлением серной кислоты и фрикционной обработкой, приводит к благоприятно короткому времени обработки в реакционной емкости. Встречное вращение колец с лопастями 11 и вследствие этого биомассы оптимизирует смешивание серной кислоты и разрушение клеточных взаимодействий в биомассе, при этом в то же время распределение серной кислоты в биомассе становится более однородным по сравнению с тем, если бы кольца лопастей 11 вращались бы в одном и том же направлении. Когда самое нижнее кольцо лопастей за счет центробежной силы выгружает биомассу через выводной штуцер 12 реакционной емкости 8, биомасса поступает в реакционную емкость 14 для обработки аммиаком. Это представляет собой стадию 3 способа. Биомассу переносят из реакционной емкости 8 в реакционную емкость 14, например, за счет круговой подачи и т.п. Согласно настоящему варианту осуществления изобретения реакционная емкость 14 также включает цилиндрическую толстостенную стальную емкость, имеющую внешнюю теплоизоляционную рубашку 3. Принципиально реакционная емкость 14 не нуждается в контуре обогрева. Как и реакционная емкость 8 обработки серной кислотой реакционная емкость 14 включает противоположно вращающиеся роторы, выводной штуцер для отвода отработанных газов в конденсатор 7 и т.д. Аммиак в форме водного раствора аммиака подают в реакционную емкость 14 через пригодное сопло, расположенное выше самой верхней динамической лопасти, или аммиачный газ подают в реакционную емкость 14 через пригодное сопло более нижней динамической лопасти. Обработка аммиаком приводит к дополнительной дегазификации, где отработанный газ выгружают через выводной штуцер на верхнем крае самой верхней динамической лопасти в конденсатор 7, где из конденсата образуется жидкое удобрение. Цель реакционной емкости 14 состоит в выполнении реакционной обработки биомассы при использовании аммиака для 1) высвобождения воды, которая связывает микроскопическими межклеточными взаимодействиями биомассу, 2) добавления дополнительного органически связанного питательного вещества в биомассу, 3) фрикционной обработки, 4) повышения рН до величины примерно 6 (рН в диапазоне от 5 до 8, предпочтительно примерно 6), 5) увеличения температуры биомассы за счет экзотермической реакции до выше 100°С (выше 85°С, предпочтительно выше 100°С), с увеличением рН и нагреванием, обеспечивая двукратное санирование биомассы. Теперь биомасса становится органически связанным продуктом удобрения высшего качества. После стадии 3 способа биомасса имеет содержание твердых веществ примерно 55-60%. Для осуществления дальнейшей сушки биомассы биомассу пропускают через сушку 15. Сушка составляет стадию 4 способа. В настоящем варианте осуществления сушка 15 включает два сваренных толстостенных стальных цилиндра, располагающихся параллельно, имеющие центральное расстояние, соответствующее диаметру цилиндра минус примерно 20 миллиметров. Сушка 15 включает внешний электрический контур обогрева, индукционную катушку или контур обогрева 16 на основе воды/газа, а также внешнюю теплоизоляционную рубашку 17. Каждый из двух взаимно сваренных параллельных толстостенных стальных цилиндров, образующих сушку 15, включает несколько уровней противоположно вращающихся роторов 18, каждый имеющий несколько, как например три или четыре, динамических лопастей. Установку противоположно вращающихся роторов приводят в движение две противоположно вращающихся оси 19, 20 ротора, приводящихся в движение посредством трансмиссии 21 или т.п. пригодным мотором 22, таким как фланцевый электрический мотор, гидравлический мотор и т.п. Горячий воздух противотоком подают через сушку 15 к биомассе. Кран 23 горячего воздуха нагревает воздух, который затем подают через впускной штуцер 24 горячего воздуха. Впускной штуцер 24 обеспечивают вибрационным мотором 25, придающим горячему воздуху высокую частоту осцилляции, обычно порядка 20 кГц. Также создают вибрацию биомассы при помощи вибрационного мотора 25, располагающегося в соединении с сушкой 15 на центральной линии впускного штуцера 26 биомассы. Успешным образом сушка 15 может быть наклонена (например, на 10°), так что за счет гравитации биомасса будет двигаться через сушку 15. На фиг.2 показан приведенный в качестве примера вариант осуществления сушки 15 согласно настоящему изобретению. Цель сушки 15 состоит в удалении избыточной влаги из биомассы и приведение биомассы к содержанию твердого вещества, например, примерно 85% (в диапазоне от 70 до 99%, предпочтительно примерно 85-90%). Этого достигают путем фрикционной обработки, нагревания и вибрации. Комбинированный эффект указанных действий повышает температуру и обеспечивает, что водное содержание биомассы испаряется, значительно ускоряя способ сушки. Противоположно вращающиеся роторы 18 обеспечивают то, что биомассе придается и сохраняется гомогенность, и она состоит из мелких частиц, где обеспечены мелкие частицы для обеспечения максимальной площади поверхности, ускоряющей испарение. Применяемая вибрация обеспечивает то, что капли воды испаряются с образованием аэрозолей, с потоком воздуха проходят через выбрасываемый аэрозоль и, таким образом, удаляется влага из сушки 15. В отсутствие такой прилагаемой вибрации стадия сушки 4 занимала бы длительное время. На практике было бы невозможным достичь достаточно высокого уровня твердых веществ в конечном продукте. Важная особенность изобретения состоит в том, что способ сушки проводят в комбинации с подачей горячего воздуха и вибрацией. Как отмечено выше, цель конденсатора 7 состоит в переводе отработанного газа из указанных стадий способа в жидкую форму, в результате чего конденсат образует превосходный жидкий продукт удобрения. Представленные стадии 1-4 способа с последовательными реакционными камерами и фрикционной обработкой привели в значительной степени к сокращенному времени реакции, а также в значительной степени улучшенному, и более надежным продуктам реакции по сравнению с традиционной обработкой партиями. С дополнительным обеспечением встречного вращения динамических лопастей, используемого в каждой стадии способа, это приводит к в значительной степени к улучшенной турбулентности и гомогенного состояния биомассы для последующих стадий способа. Турбулентность и гомогенное состояние биомассы обеспечивает то, что серная кислота, добавленная в реакционную емкость 8, более быстро поглощается и это позволяет ей полностью реагировать с биомассой. Сходным образом, турбулентность и гомогенное состояние в реакционной емкости 15 обеспечивает то, что добавляемый аммиак более быстро поглощается и это позволяет ему полностью реагировать с биомассой. Результат состоит в том, что достигают более высокого содержания питательных веществ в конечном продукте за меньший промежуток времени и с тем же или меньшим количеством добавляемой серной кислоты и аммиака. Также испытания показали, что использование повышенных температур в биомассе в ходе реакционной обработки уменьшает поглощение серной кислоты и аммиака, приводя к меньшей регуляции рН по сравнению с биомассой, имеющей меньшие температуры, которая требует сильной регуляции рН для достижения тех же результатов с точки зрения высвобождения жидкости, обеспечения питательных веществ, требуемой санации до так называемого продукта питания, а также качества заданного конечного продукта, включая органически связанные питательные вещества. Следует понимать, что настоящее изобретение может быть различным образом сконфигурировано, и что описываемый вариант осуществления предназначен исключительно в целях сравнения. Будут возможны некоторые модификации. Например, устройство может быть сконструировано в виде непрерывной высокой колонны, может быть различным дизайн камеры и может варьировать число роторов. Дополнительно, температуры, частоты, величины рН, содержания твердых веществ и т.д., приведенные выше, могут быть установлены таким образом, как необходимо. Также будет возможным заменить серную кислоту на азотную кислоту, даже несмотря на то, что это не приводит к сопоставимым превосходным результатам.
Вторичные ресурсы
(нажмите чтобы развернуть)
удобрения
Требования
(нажмите чтобы развернуть)
дополнительных требований не предъявляется
Ограничения
(нажмите чтобы развернуть)
ограничений не предусмотрено
Оценка
(нажмите чтобы развернуть)
Тип оценки
Оценка
Оценка экологического эффекта
отлично
Прикрепленные файлы
1
Схема 1
2
Схема 2
Распечатать информацию
Назад